水處理溶氧儀
2021-04-23
米科LR-DO700溶解氧傳感器采用熒光法測量溶解氧,發出的藍光照射在熒光層上,熒光物質受到激發發出紅光,而氧濃度與熒光物質回到基態的時間成反比。采用了該方法測量溶解
米科LR-DO700溶解氧傳感器采用熒光法測量溶解氧,發出的藍光照射在熒光層上,熒光物質受到激發發出紅光,而氧濃度與熒光物質回到基態的時間成反比。采用了該方法測量溶解氧,測量時不會產生氧消耗,數據穩定,性能可靠,不存在干擾,安裝和校正簡單。
LR-DO700控制器用于顯示傳感器所測得的數據,用戶可以通過控制器的界面配置和校準實現4-20mA模擬輸出。可以實現繼電器控制及數字通訊等功能。
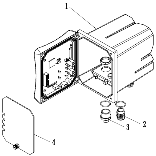
LR-DO700和LR-DO700組成的測定儀可以實現水中溶解氧濃度的測量。該產品普遍應用于污水廠、自來水廠、水站、地表水、養殖業、工業等領域溶解氧監測。傳感器和控制器圖如圖1、2所示。


繼電器、輸出和信號
控制器配有三個可配置繼電器開關和兩路模擬輸出。
傳感器和傳感器模塊
控制器是單參數控制器可容納一個傳感器。
控制器外殼
控制器外殼具有IP65防護等級。對于戶外使用,強烈建議采取防止環境害的防護措施。
1 取出溶解氧傳感器,用干凈的抹布(質地柔軟且表面光潔)清潔傳感器。
2 將傳感器置于裝有適量水(約20-30mL)的校準包中,如圖所示

3 用橡皮筋或徒手將傳感器密封牢固
4 讓儀器數據穩定后(或約10分鐘后)再開始校準,同時避免受到陽光的直射。
5 確保傳感器的各項設置正確
6 進入相應控制器設置菜單按照Menu﹥探頭設置﹥校正﹥空氣校準的步驟進行操作。
7 等待數值穩定,按確認鍵完成校準,若成功會顯示新的校正斜率,失敗則顯示原先的校準斜率。(斜率范圍應在0-1.5之間,超出則校準失敗需要重新校準)
校準注意事項:
請確保校準包密封牢固
校準時,確保傳感器的干燥
確保留出足夠長的時間,保證傳感器溫度穩定在校準包處的溫度
標樣校準
1 取出溶解氧傳感器,用干凈的抹布(質地柔軟且表面光潔)清潔傳感器
2 將傳感器放入到溶氧值已知的溶液中(此操作需在無氧環境條件下)
最新資訊
-
美儀完成數億元B輪融資
本輪融資將用于供應鏈創新、產品研發、全球服務網絡和數字化建設。此前,美儀股份已于2021年12月、2022年7月分別完成A輪與A+輪融資。...
-
“你是我這輩子見到的,第一個中國儀表人”
Ngubane 坦言,雖然沒有去過中國,但對中國近些年的高速發展留下了深刻印象,而且身邊一些親友也在中國留學。所以,第一次采用中國儀表,第一次見到來自中國的儀表人,才會這么興奮。...
-
非海外倉建成啟用!
2023年7月6日,位于南非約翰內斯堡的美儀海外倉建成啟用。...
-
安卡拉,我們來了!
2023年7月1日,位于土耳其首都安卡拉(Ankara)的美儀辦事處正式成立。...
-
世界環境日,美儀宜興辦事處成立!
2023年6月5日,恰逢第50個世界環境日,位于「中國環保之鄉」——宜興的美儀辦事處正式啟用。...
-
剛剛,中國計量大學第6屆“美儀獎助學金”頒發!
人才培養任重道遠,美儀將上下而求索!...
-
今天,美儀在東南亞有新動作!
近日,500多位美儀奮斗者、客戶代表、合作伙伴、地方領導等共同見證了美儀科技園正式啟用這一里程碑式時刻。...
-
簽了!美儀與中國儀器儀表行業協會達成戰略合作
米科母公司美儀與中國儀器儀表行業協會達成戰略合作。...
-
在德國漢諾威,美儀還是這么火
德國當地時間4月17日至21日,美儀亮相全球最大、最具影響力的工業展——2023年德國漢諾威工業博覽會,與來自世界各個國家和地區的約4000家參展商同臺,盡顯工業之美。...
-
史上最大規模的中國環博會,來嗎?來吧!
米科母公司美儀,將盛裝亮相第24屆中國環博會,誠摯邀請廣大新老客戶蒞臨參觀指導。...
137 5825 7245
服務熱線:137 5825 7245
聯系電話:137 5825 7245
公司傳真:0571-88384602
公司郵箱:1809685586@qq.com
公司地址:杭州錢塘新區科技園路2號
